
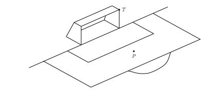
Considere que a marca do pênalti equidista das duas traves do gol, que são perpendiculares ao plano do campo, além das medidas a seguir, que foram aproximadas para facilitar as contas.
• Distância da marca do pênalti até a linha do gol: 11 metros.
• Largura do gol: 8 metros.
• Altura do gol: 2,5 metros.
Um atacante chuta a bola da marca do pênalti e ela, seguindo uma trajetória reta, choca-se contra a junção da trave esquerda com o travessão (ponto T). Nessa situação, a bola terá percorrido, do momento do chute até o choque, uma distância, em metros, aproximadamente igual a
TEMPO NA QUESTÃO
00:00:00
Meu Desempenho
Matemática Geometria
Total de Questões: ?
Respondidas: ? (0,00%)
Certas: ? (0,00%)
Erradas: ? (0,00%)
Somente usuários cadastrados!